HOME >> Services >> Partners >> FAG Bearing
FAG Bearing
IKO Bearing
INA Bearing
KOYO Bearing
NACHI Bearing
NSK Bearing
NTN Bearing
SKF Bearing
TIMKEN Bearing

Bearing number : 22206-E1
Size (mm) : 30x62x20
Brand : FAG
Bore Diameter (mm) : 30
Outer Diameter (mm) : 62
Width (mm) : 20
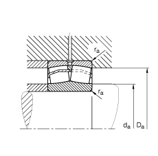
d - 30 mm
D - 62 mm
B - 20 mm
D1 - 53,7 mm
Da max - 56,4 mm
d2 - 38,1 mm
da min - 35,6 mm
ds - 3,2 mm
ns - 4,8 mm
ra max - 1 mm
rmin - 1 mm
m - 0,275 kg / Weight
Cr - 64000 N / Dynamic load rating (radial)
e - 0,3
Y1 - 2,26
Y2 - 3,37
C0r - 57000 N / Static load rating (radial)
Y0 - 2,21
nG - 12500 1/min / Limiting speed
nB - 8200 1/min
Cur - 6900 N / Fatigue limit load, radial
Main dimensions to DIN 635-2