HOME >> Services >> Partners >> FAG Bearing
FAG Bearing
IKO Bearing
INA Bearing
KOYO Bearing
NACHI Bearing
NSK Bearing
NTN Bearing
SKF Bearing
TIMKEN Bearing

Bearing number : 21315-E1
Size (mm) : 75x160x37
Brand : FAG
Bore Diameter (mm) : 75
Outer Diameter (mm) : 160
Width (mm) : 37
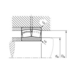
d - 75 mm
D - 160 mm
B - 37 mm
D1 - 135,2 mm
Da max - 148 mm
d2 - 99,7 mm
da min - 87 mm
ds - 3,2 mm
ns - 6,5 mm
ra max - 2,1 mm
rmin - 2,1 mm
m - 3,79 kg / Weight
Cr - 305000 N / Dynamic load rating (radial)
e - 0,22
Y1 - 3,04
Y2 - 4,53
C0r - 325000 N / Static load rating (radial)
Y0 - 2,97
nG - 5700 1/min / Limiting speed
nB - 3850 1/min
Cur - 38000 N / Fatigue limit load, radial
Main dimensions to DIN 635-2