HOME >> Services >> Partners >> FAG Bearing
FAG Bearing
IKO Bearing
INA Bearing
KOYO Bearing
NACHI Bearing
NSK Bearing
NTN Bearing
SKF Bearing
TIMKEN Bearing

Bearing number : NU264-EX-TB-M1
Size (mm) : 320x580x92
Brand : FAG
Bore Diameter (mm) : 320
Outer Diameter (mm) : 580
Width (mm) : 92
d - 320 mm
D - 580 mm
B - 92 mm
D1 - 494,4 mm
Da max - 560 mm
da max - 388,5 mm
da min - 340 mm
db min - 395,5 mm
E - 520 mm
F - 392 mm
r1 min - 5 mm
ra max - 4 mm
ra1 max - 4 mm
rmin - 5 mm
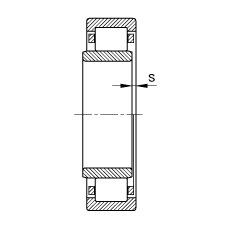
s - 7,5 mm / Axial displacement facility from central position
m - 113 kg / Weight
Cr - 1810000 N / Dynamic load rating (radial)
C0r - 2700000 N / Static load rating (radial)
nG - 1730 1/min / Limiting speed
nB - 850 1/min
Cur - 176000 N / Fatigue limit load, radial
Main dimensions to DIN 5412-1, non-locating bearing, separable, with cage